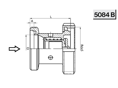
| DN | Размер | ||||
|---|---|---|---|---|---|
| A | D | L | Rd x S | кг | |
| 25 | 7 | 26 | 55 | 52×1/6” | 0,30 |
| 32 | 7 | 32 | 63 | 58×1/6” | 0,41 |
| 40 | 7 | 38 | 63 | 65×1/6” | 0,60 |
| 50 | 7 | 50 | 73 | 78×1/6” | 1,05 |
| 65 | 8 | 66 | 85 | 95×1/6” | |
5084 B Обратный клапан К/М – Р Niob Fluid
Артикул: Н/Д
Категории: Niob Fluid s.r.o., Обратные клапаны, Специальная арматура
| Размер DN | DN 25, DN 32, DN 40, DN 50, DN 65 |
|---|---|
| Производитель | Niob Fluid s.r.o. |
| Марка стали | AISI 304, AISI 316 L |













Отзывы
Отзывов пока нет.